Products
Innovative Video IC Solutions
- Home
- Products
- Multi-Channel
- RN6854M
Multi-Channel
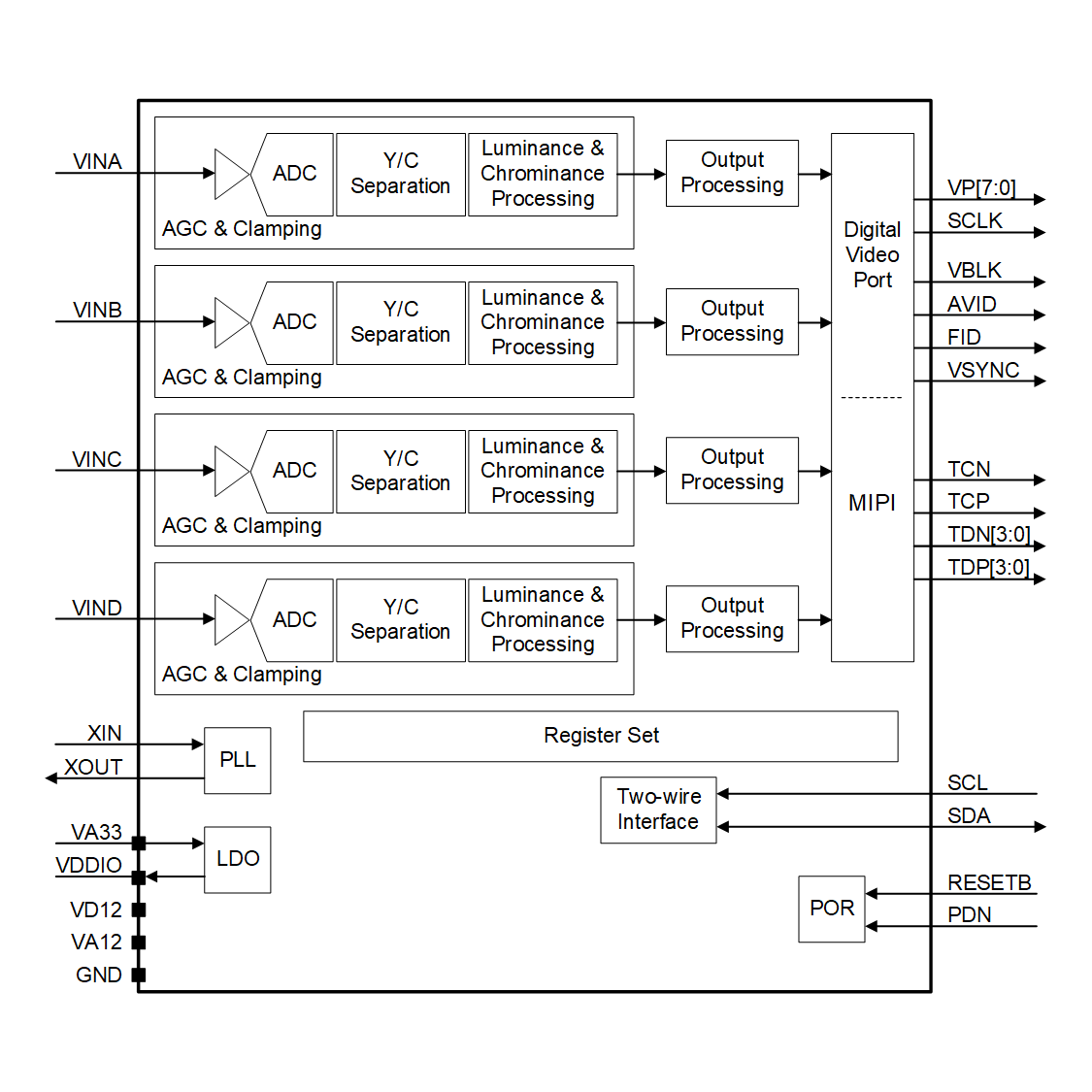
RN6854M
4-Channel HD (1080p) Decoder with MIPI (1x 4-Lane) Output- Features
- Status - Active (Recommended for new designs)
- Max. 1080p (2M) Video Resolution
- 4x Analog Inputs
- MIPI Interface Capable of Outputting 4-Channel 720p30 Video Data
- Dual 1.2/3.3V Power Supplies
- Built-in 1.8V LDO
- QFN-32 5mm x 5mm Package
- -40°C to +85°C Operating Temperature Range
- Designed for Automotive Applications
Description
The RN6854M is a versatile multi-channel video decoder that allows each channel to be independently configured for resolution, frame rate, and format. Optimized for surround-view and multi-view systems in automotive applications, it also serves as a general-purpose solution for diverse multi-camera designs. Featuring the most compact footprint in its class and pin compatibility with Richnex’s QFN-32 products, the RN6854M simplifies design and integration. Trusted by leading SoC platforms and deployed in passenger, commercial, agricultural, and construction vehicles, this proven solution has shipped millions of units since its introduction.Applications
- Analog video decoding for resolution up to 1080p (2M)
- Multi-view system in automotive, industrial and consumer applications
- Machine vision
- TVP5150 decoder replacement
Package Information
| Package | Dimensions | Leads | Package Code |
|---|---|---|---|
| QFN | 5mm x 5mm | 32 | N |
Key Parameters
| Analog Input | Decoder Channel | Output Interface | Supply | Resolution | Current | Temp. |
|---|---|---|---|---|---|---|
| 4 | 4 | MIPI(1x 4-Lane) | 3.3V 1.2V |
1080p Max | 70mA 300mA |
-40°C to +85°C |