Products
Innovative Video IC Solutions
New
RN6854V1N
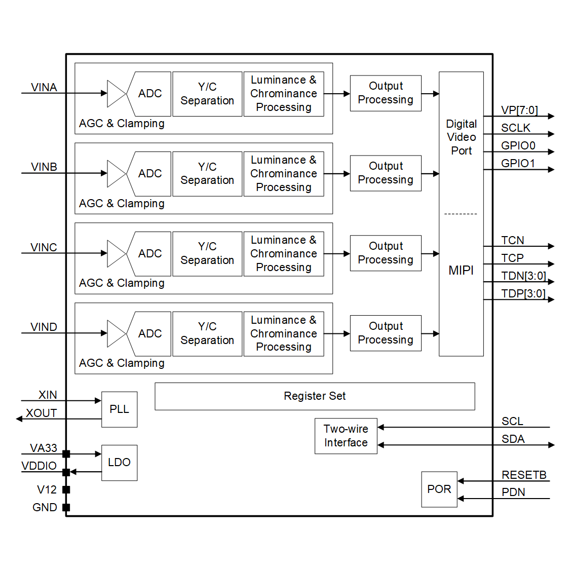
4-Channel HD (1440p) Decoder with MIPI (1x 4-Lane) Output- Features
- Status - Active (Recommended for new designs)
- Max. 1440p (4M) Video Resolution
- 4x Analog Inputs
- High Speed MIPI Interface Capable of Outputting 4-Channel 1080p Data
- Dual 1.25/3.3V Power Supplies
- Built-in 1.8V LDO
- QFN-32 5mm x 5mm Package
- -40°C to +85°C Operating Temperature Range
- Designed for Automotive Applications
Description
The RN6854V1N is a 4-channel video decoder optimized for surround view applications in passenger and commercial vehicles. This versatile solution supports video sources with varying resolutions and frame rates, aggregating them into a single 4-lane MIPI CSI-2 link using virtual channels for data transfer. Its compact QFN package (5mm × 5mm or 6mm × 6mm) enables high channel density and efficient PCB utilization, making it ideal for advanced multi-camera automotive systems.Applications
- Analog video decoding for resolution up to 1440p (4M)
- Multi-view system in automotive, industrial and consumer applications
- Industrial machine vision TVP5150 decoder replacement
Package Information
| Package | Dimensions | Leads | Package Code |
|---|---|---|---|
| QFN (Wettable-Flank) | 5mm x 5mm | 32 | N |
Key Parameters
| Analog Input | Decoder Channel | Output Interface | Supply | Resolution | Current | Temp. |
|---|---|---|---|---|---|---|
| 4 | 4 | MIPI | 3.3V 1.25V |
1440p Max. | 61mA 340mA |
-40°C to +85°C |