Products
Innovative Video IC Solutions
New
RN6854V2N
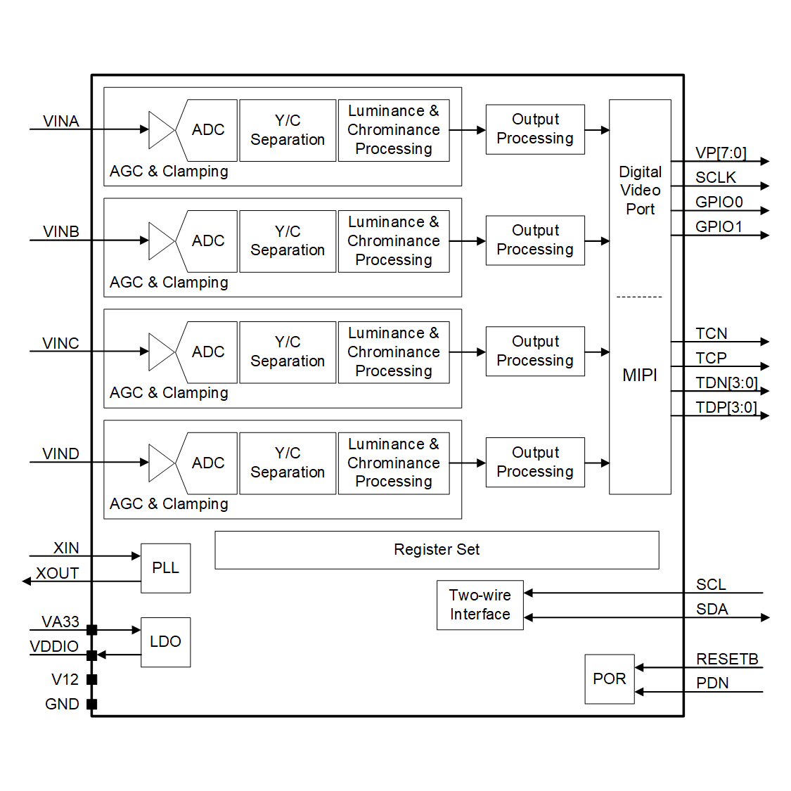
4 Channel HD (1080p) Decoder with MIPI (1x 4-Lane) Output- Features
- Status - Active (Recommended for new designs)
- Max. 1080p (2M) Video Resolution
- 4x Analog Inputs
- MIPI Interface Capable of Outputting 4-Channel 720p30 Video Data
- Dual 1.2/3.3V Power Supplies
- Built-in 1.8V LDO
- QFN-32 5mm x 5mm Package
- -40°C to +85°C Operating Temperature Range
- Designed for Automotive Applications
Description
The RN6854V2N is pin- and function-compatible with the RN6854M, offering improved features and performance without requiring PCB changes. This compatibility enables customers to upgrade quickly and with minimal risk. Further enhancement to the RN6854V1N is also possible without hardware redesign, ensuring a smooth, continuous upgrade path for automotive applications. Additionally, the same hardware can be software-configured to adjust feature sets and performance levels, providing exceptional flexibility for evolving system requirements.Applications
- Analog video decoding for resolution up to 1080p (2M)
- Multi-view system in automotive, industrial and consumer applications
- Machine vision
- TVP5150 decoder replacement
Package Information
| Package | Dimensions | Leads | Package Code |
|---|---|---|---|
| QFN (Wettable-Flank) | 5mm x 5mm | 32 | N |
Key Parameters
| Analog Input | Decoder Channel | Output Interface | Supply | Resolution | Current | Temp. |
|---|---|---|---|---|---|---|
| 4 | 4 | MIPI | 3.3V 1.2V |
1080p Max. | 66mA 270mA |
-40°C to +85°C |