Products
Innovative Video IC Solutions
- Home
- Products
- Multi-Channel
- RN6862M
Multi-Channel
RN6862M
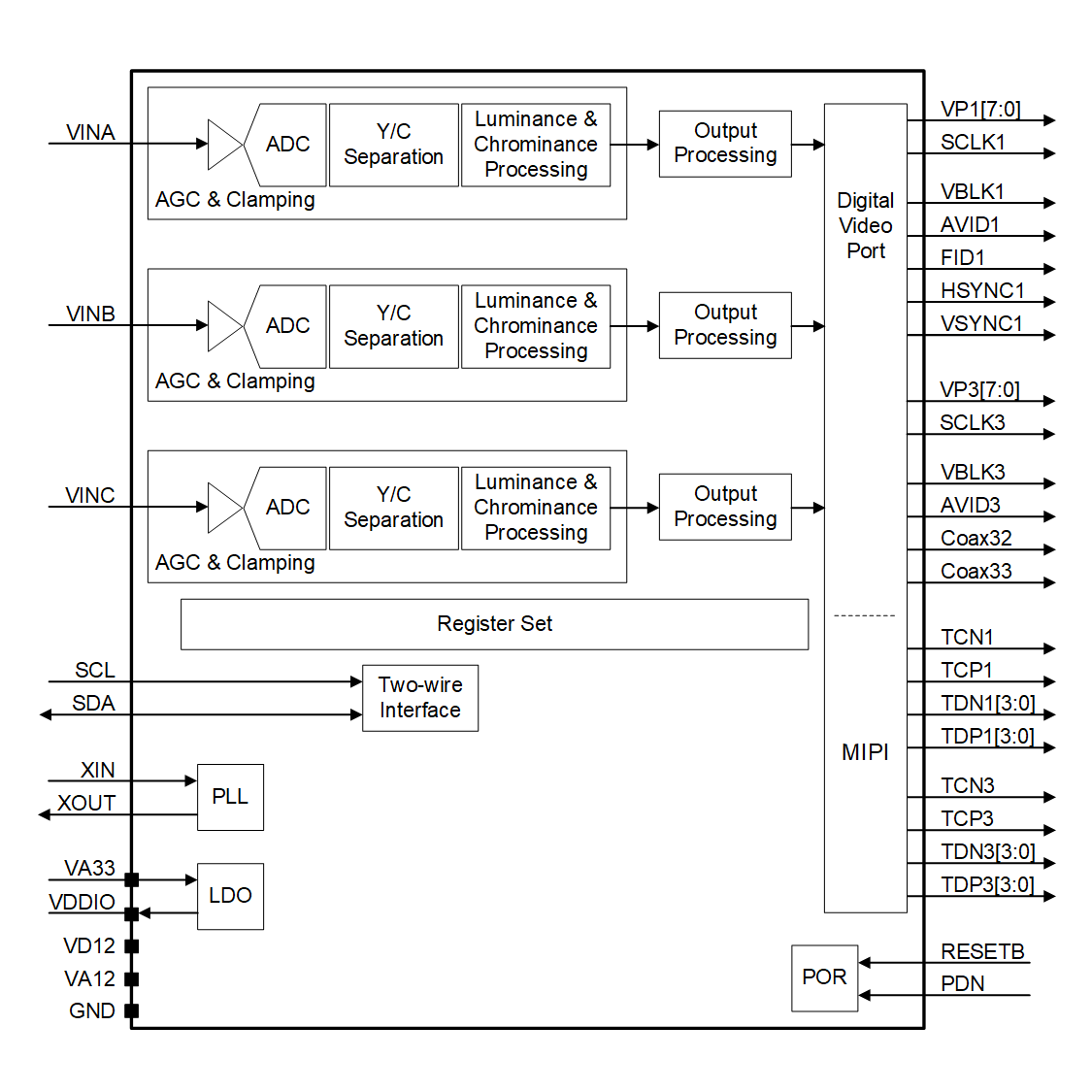
3-Channel HD (2M) Decoder with MIPI (2x 4-Lane) Output- Features
- Status - NRND (Not recommended for new designs)
- Max. 1080p (2M) Video Resolution
- 3x Analog Input
- 2x MIPI Interface
- Dual 1.2/3.3V Power Supply
- Built-in 1.8V LDO
- QFN-48, 6mm x 6mm Package
- -40°C to +85°C Operating Temperature Range
- Designed for Automotive Applications
Description
The RN6862M is a 3-channel video decoder designed for automotive in-cabin monitoring systems. It supports three 1080p30 analog inputs and aggregates video data through two 4-lane MIPI CSI-2 interfaces using virtual channels. Ideal for multi-camera setups in 5- or 7-seater vehicles, the RN6862M offers a compact footprint and pin compatibility with Richnex’s QFN-48 products, ensuring easy upgrade path to 4-channel design.Applications
- Analog video decoding for resolution up to 1080p (2M)
- HD (2M) Multi-view system in automotive application
- HD (2M) machine vision
- Dual MIPI Interface
Package Information
| Package | Dimensions | Leads | Package Code |
|---|---|---|---|
| QFN | 6mm x 6mm | 48 | GQW |
Key Parameters
| Analog Input | Decoder Channel | Output Interface | Supply | Resolution | Current | Temp. |
|---|---|---|---|---|---|---|
| 3 | 3 | MIPI(2x 4-Lane) | 3.3V 1.2V |
1080p Max | 54mA 280mA |
-40°C to +85°C |