Products
Innovative Video IC Solutions
- Home
- Products
- Multi-Channel
- RN6864M
Multi-Channel
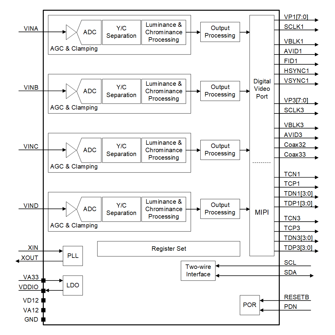
RN6864M
4-Channel HD (2M) Decoder with MIPI (2x 4-Lane) Output- Features
- Status - Active (Recommended for new designs)
- Max. 1080p (2M) Video Resolution
- 4x Analog Input
- 2x MIPI Interface Capable of 4-Channel 1080p30 Video Data Transport
- Dual 1.2/3.3V Power Supply
- Built-in 1.8V LDO
- QFN-48, 6mm x 6mm Package
- -40°C to +85°C Operating Temperature Range
- Designed for Automotive Applications
Description
The RN6864M is a 4-channel video decoder that supports four 1080p30 analog inputs and outputs four 1080p30 video streams via two 4-lane MIPI CSI-2 interfaces using virtual channels. These streams can be stitched together at the SoC to create a 360° 4K/30 panoramic view, making the RN6864M ideal for vision-based automotive and industrial applications. Pin-compatible with its successor, the RN6864V1N, it provides an easy upgrade path to higher resolutions (4M) without PCB redesign, ensuring scalability and long-term flexibility.Applications
- Analog video decoding for resolution up to 1080p (2M)
- HD (2M) Multi-view system in automotive and industrial application
- HD (2M) machine vision
- Dual MIPI Interface
Package Information
| Package | Dimensions | Leads | Package Code |
|---|---|---|---|
| QFN | 6mm x 6mm | 48 | GQW |
Key Parameters
| Analog Input | Decoder Channel | Output Interface | Supply | Resolution | Current | Temp. |
|---|---|---|---|---|---|---|
| 4 | 4 | MIPI(2x 4-Lane) | 3.3V 1.2V |
1080p Max | 68mA 310mA |
-40°C to +85°C |