Products
Innovative Video IC Solutions
New
RN6864V1N
4-Channel HD (4M) Decoder with MIPI(2x 4-Lane) Output- Features
- Status - Active (Recommended for new designs)
- Max. 1440p (4M) Video Resolution
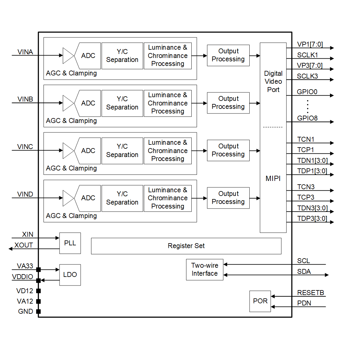
- 4x Analog Inputs
- 2x MIPI Interface Capable of Outputting 4-Channel 1440p30 Video Data
- Dual 1.25/3.3V Power Supplies
- Built-in 1.8V LDO
- QFN-48 6mm x 6mm Package
- -40°C to +85°C Operating Temperature Range
- Designed for Automotive Applications
Description
The RN6864V1N is Richnex’s flagship 4-channel video decoder, featuring four analog inputs and two MIPI CSI-2 Tx links. It can simultaneously decode four 1440p (4-megapixel) analog video signals and output them through two high-speed MIPI interfaces. Designed for ADAS and other advanced automotive applications, the RN6864V1N offers a cost-effective solution for high-resolution multi-camera systems. Its use of analog video with a narrow bandwidth (<50 MHz) reduces cabling complexity and enhances EMC robustness, simplifying compliance in automotive environments. The RN6864V1N is pin-compatible with the RN6864M, providing an easy upgrade path from 1080p to 1440p without PCB redesign.Applications
- Analog video decoding for resolution up to 1440p (4M)
- HD (4M) Multi-view system in automotive, industrial and consumer applications
- HD (4M) machine vision
Package Information
| Package | Dimensions | Leads | Package Code |
|---|---|---|---|
| QFN (Wettable-Flank) | 6mm x 6mm | 48 | N |
Key Parameters
| Analog Input | Decoder Channel | Output Interface | Supply | Resolution | Current | Temp. |
|---|---|---|---|---|---|---|
| 4 | 4 | 2x MIPI | 3.3V 1.25V |
1440p Max. | 60mA 370mA |
-40°C to +85°C |