| RN1175 : USB2.0 OTG Transceiver with 1.8V-3.3V ULPI Interface |
| |
| Features |
- Complies with Universal Serial Bus Specification Rev. 2.0
- Compatible with USB On-The-Go Supplement Rev. 1.3
- Complies with UTMI+ Low Pin Interface (ULPI) Rev. 1.1
- Complies with ULPI 8 bit mode
- 1.8V to 3.3V ULPI interface
- Supports ULPI 3/6 bit serial interface modes
- Supports the USB Host Negotiation Protocol (HNP) and Session Control Protocol (SRP)
- Supports USB FS pre-amble packets
- Supports Carkit Mode which routes UART signals thru USB pins
- Accepts 24MHz input clock
- Requires 3.3V and 1.8V external power
- +/- 8kV ESD protection on DP, DM and ID pins
- Integrated Power On Reset circuit
- Low power consumption and suspend current for portable applications
-- Packaging Options
-- QFN4x4-24L RoHS compliant package
- Small footprint (3mm x 3mm) 25-pin WLCSP package
- Complies with China AC adaptor specification
|
| |
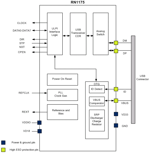
| Block Diagram |
 |
|
|